-
型號
版本
描述
廠商
下載
-
英文版
10 AMP SCHOTTKY RECTIFIER IN SMALL HERMETIC PACKAGE
ETC
-
英文版
10 AMP SCHOTTKY RECTIFIER IN SMALL HERMETIC PACKAGE
ETC [ETC]
-
英文版
TRANSISTOR | MOSFET POWER MODULE | INDEPENDENT | 400V V(BR)D...
ETC
-
英文版
TRANSISTOR | MOSFET POWER MODULE | INDEPENDENT | 400V V(BR)D...
ETC
-
英文版
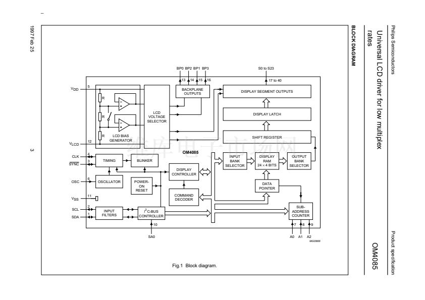
LCD driver for low multiplex rates
PHILIPS
-
英文版
LCD driver for low multiplex rates
PHILIPS [P...
-
英文版
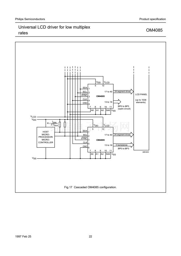
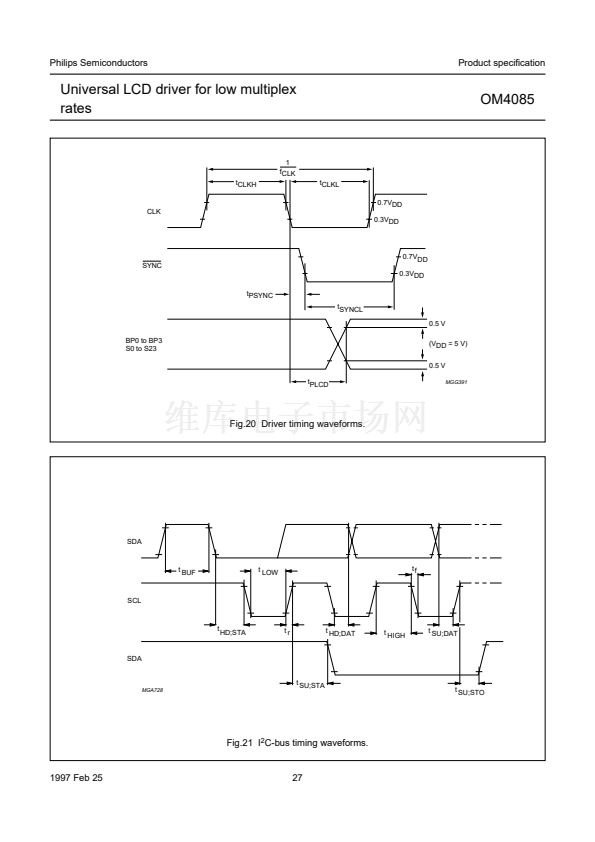
Universal LCD driver for low multiplex rates
PHILIPS
-
英文版
Universal LCD driver for low multiplex rates
PHILIPS [P...
-
英文版
Digital post-detection filter for FSK data receivers
PHILIPS
-
英文版
Digital post-detection filter for FSK data receivers
PHILIPS [P...
-
英文版
LCD driver for low multiplex rates
PHILIPS
-
英文版
LCD driver for low multiplex rates
PHILIPS [P...
-
英文版
LCD driver for low multiplex rates
PHILIPS
-
英文版
LCD driver for low multiplex rates
PHILIPS [P...
-
英文版
LCD driver for low multiplex rates
PHILIPS
-
英文版
LCD driver for low multiplex rates
PHILIPS [P...
-
英文版
Universal LCD driver for low multiplex rates
PHILIPS
-
英文版
Universal LCD driver for low multiplex rates
PHILIPS [P...
-
英文版
15 AMP SCHOTTKY RECTIFIER IN SMALL HERMETIC PACKAGE
ETC
-
英文版
15 AMP SCHOTTKY RECTIFIER IN SMALL HERMETIC PACKAGE
ETC [ETC]